MG2 - Installation

Installation in rigid wall and floor

The product was tested and approved in:
  • see the classification overview in the Declaration of Performance.
  • Mounting is authorised in supporting constructions with a density equal or superior to the supporting construction used during the test, as described in EN 1366-3.
1
Provide an installation opening of ØD1 + 50 mm.
2
Remove the label. Open the fire collar and place it around the pipe.
Slide the fastening strips through the corresponding holes.
Fold back the strips.
3
Slide the collar into the opening of the wall, in the middle of the wall thickness.
4
Seal with standard mortar (floor) or plaster (vertical wall).
Apply the label nearby the collar.
5
For zero distances: the collars can be placed against one another (< 100 mm). See declaration of performance for the correct classification.

Installation in flexible wall (metal stud and plasterboard)

The product was tested and approved in:
  • see the classification overview in the Declaration of Performance.
  • Mounting is authorised in supporting constructions with a density equal or superior to the supporting construction used during the test, as described in EN 1366-3.
1
Fix two gypsum boards type F with a tickness of 12,5 mm to one side of the metal stud wall.
Provide a min. Installation opening in the wall of ØD1 + 50 mm.
2
Insulate the wall and finish with two gypsum plasterboards type F.
3
Place the plastic pipe.
Remove the label. Open the fire collar and place it around the pipe.
Slide the fastening strips through the corresponding holes.
Fold back the strips.
4
Slide the collar into the opening of the wall, in the middle of the wall thickness.
5
Seal with gypsum.
Apply the label nearby the collar.

Installation in flexible and rigid wall, sealing with rigid stone wool boards with coating

The product was tested and approved in:
  • see the classification overview in the Declaration of Performance.
  • Mounting is authorised in supporting constructions with a density equal or superior to the supporting construction used during the test, as described in EN 1366-3.
1
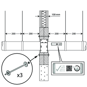
Provide an installation opening of maximally 1000 x 600 mm.
2
Fix two gypsum plasterboards type F of 12,5 mm thickness to each side of the metal studs and insulate the wall with 40 mm mineral wool, 40 kg/m³.
3
Place the plastic pipe(s). The distances between the pipes and the edges of the seal are min. 100 mm.
4
Place the built-in fire collars around the pipes by removing the label and fixing the collar by bending the fastening strips. Position the collars in the middle of the wall thickness.
5
Fix a stone wool board of min. 50 mm thickness with fire resistant coating on one side (type PROMASTOP-CB 50) around the fire collars. Use a saw or knife to dimension the stone wool boards. Apply endothermic coating (type PROMASTOP-E) on the lateral sides, as well as on the joints.
6
Put the second stone wool board of min. 50 mm thickness around the collars. Avoid the joints from coinciding. Apply endothermic coating (type PROMASTOP-E) on the lateral sides, as well as on the joints.
7
Put 3 threaded rods through the stone wool boards and fix with M6, washers and bolts.
Apply the label nearby the collar.

General remarks

  • The installation must comply with the installation manual and the classification report.
  • The pipe must be supported in order to guarantee the well-functioning of the sealing during a fire. Supports and fastenings should be realised according to the rules of good craftsmanship. For this, please refer to the pipe manufacturer's instructions.
  • If the recess is larger than stated, reduce the opening in the wall/floor using the same material as the wall/floor.