MG2 - Einbau

Einbau in Massivwand und Decke

Das Produkt wurde in den folgenden Wand- und Deckentypen geprüft und zugelassen:
  • Siehe die Klassifizierungsübersicht in der Leistungserklärung.

Einbau in Leichtbauwand (Metallständer und Gipskartonplatten) mit IFW-Einbausatz

Das Produkt wurde in den folgenden Wand- und Deckentypen geprüft und zugelassen:
  • Siehe die Klassifizierungsübersicht in der Leistungserklärung.

Einbau in Leichtbauwand und Massivwand, Abdichtung mit festen und beschichteten Steinwolleplatten

Das Produkt wurde in den folgenden Wand- und Deckentypen geprüft und zugelassen:
  • Siehe die Klassifizierungsübersicht in der Leistungserklärung.

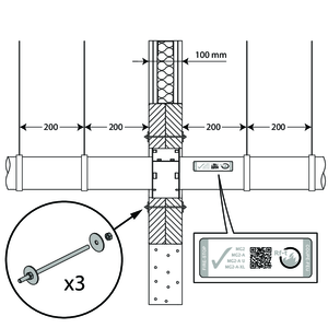
Allgemeine Bemerkungen

  • Die Klappe muss entsprechend dem Klassifizierungsbericht und der Installationsanweisung installiert werden
  • Die Abstützung der Rohre ist notwendig, um die Funktionstüchtigkeit der Abdichtung im Brandfall zu gewährleisten. Die Rohre sollten nach den allgemein anerkannten Regeln der Technik abgestützt und befestigt werden. Bitte beachten Sie hierzu die Anweisungen des Rohrherstellers.
  • Wenn die Spalte größer als angegeben ist, verkleinern Sie den Wanddurchbruch in der Decke mit dem gleichen Material wie die Wand.