MG2 - Installatie

Plaatsing in massieve wand en vloer

Het product werd getest en goedgekeurd in:
  • zie classificatieoverzicht in prestatieverklaring.
  • Draagconstructies met een hogere densiteit zijn eveneens toegelaten, zoals beschreven in EN 1366-3.
1
Voorzie een inbouwopening ØD1 + 50 mm.
2
Verwijder het etiket, open de manchet en plaats ze rond de buis.
Steek de lipjes van de sluiting door de overeenkomstige openingen.
Plooi de lipjes om.
3
Schuif de manchet in de opening, centraal in de wanddikte.
4
Dicht af met gewone mortel (vloer) of plaaster (wand).
Kleef het etiket in de buurt van de manchet.
5
Voor nulafstanden: de manchetten mogen tegen elkaar worden geplaatst (< 100 mm). Zie prestatieverklaring voor de correcte classificatie.

Plaatsing in flexibele wand (metal stud en gipskartonplaten)

Het product werd getest en goedgekeurd in:
  • zie classificatieoverzicht in prestatieverklaring.
  • Draagconstructies met een hogere densiteit zijn eveneens toegelaten, zoals beschreven in EN 1366-3.
1
Bevestig twee GKF gipsplaten dikte 12,5 mm langs één zijde van de metal studwand.
Voorzie in de muur een min. inbouwopening ØD1 + 50 mm.
2
Isoleer de wand tussen de metalen profielen en werk af met twee GKF gipsplaten.
3
Plaats de door te voeren buis.
Verwijder het etiket, open de manchet en plaats ze rond de buis.
Steek de lipjes van de sluiting door de overeenkomstige openingen.
Plooi de lipjes om.
4
Schuif de manchet in de muuropening, centraal in de wanddikte.
5
Dicht af met gips.
Kleef het etiket in de buurt van de manchet.

Plaatsing in flexibele en massieve wand, afdichting met harde steenwolplaten met coating

Het product werd getest en goedgekeurd in:
  • zie classificatieoverzicht in prestatieverklaring.
  • Draagconstructies met een hogere densiteit zijn eveneens toegelaten, zoals beschreven in EN 1366-3.
1
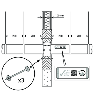
Voorzie een inbouwopening van max. 1000 x 600 mm.
2
Bevestig 2 GKF gipsplaten dikte 12,5 mm langs één zijde van de metal studs. Isoleer de wand tussen de metalen profielen (40 mm rotswol, 40 kg/m³) en werk af met 2 GKF gipsplaten.
3
Plaats de leiding(en). De afstand tussen de leidingen onderling en tussen leiding en rand van de opening is min. 100 mm.
4
Plaats de inbouwmanchetten rond de leidingen door het etiket te verwijderen en vervolgens de manchet te bevestigen door de lipjes om te plooien. Positioneer de manchet centraal in de wanddikte.
5
Bevestig een harde steenwolplaat van min. 50 mm dikte die eenzijdig voorzien is van brandwerende coating (type PROMASTOP-CB 50) rondom de manchetten. Gebruik een zaag/mes om de steenwol op maat te snijden. Smeer de kopse kanten van de steenwol alsook de voegen in met endotherme vulpasta (type PROMASTOP-E).
6
Bevestig de 2de steenwolplaat van min. 50 mm dikte rondom de manchetten. Vermijd dat de zaagsneden van de 2 steenwolplaten samenvallen. Smeer de kopse kanten van de steenwol alsook de voegen in met endotherme vulpasta (type PROMASTOP-E).
7
Breng 3 draadstangen aan doorheen de steenwolplaten en bevestig met M6 rondellen en moeren.
Kleef het etiket in de buurt van de manchet.

Algemene opmerkingen

  • De plaatsing dient steeds te gebeuren conform het installatievoorschrift en het classificatierapport.
  • Ondersteuning van de leiding is noodzakelijk om een functionele werking van de afdichting te garanderen in geval van brand. De leidingen moeten ondersteund en bevestigd worden volgens de regels van goed vakmanschap. Hiervoor verwijzen we naar de voorschriften van de fabrikant van de leidingen.
  • Wanneer de sparing groter is dan vermeld, dient men de opening in de wand/vloer te verkleinen met hetzelfde materiaal als de wand/vloer.