MG2 - Installation

Montage en paroi et dalle massive

Le produit a été testé et approuvé en :
  • voir l'aperçu des classements dans la Déclaration des Performances.
  • L'installation est autorisée dans des parois qui ont une densité similaire ou supérieure à celle du test, comme décrit dans la norme EN 1366-3.
1
Prévoyez une réservation de ØD1 + 50 mm.
2
Enlevez l'étiquette. Ouvrez le manchon et placez-le autour du tuyau.
Insérez les languettes de fermeture dans les réservations prévues.
Repliez les languettes.
3
Centrez le manchon dans l'épaisseur de la paroi.
4
Scellez avec du mortier (dalle) ou du plâtre ordinaire (paroi massive).
Collez l’étiquette près du manchon.
5
Pour distances zéro : les manchons peuvent être placés les uns contre les autres (< 100 mm). Voir déclaration des performances pour le classement correct.

Montage en paroi flexible (ossature métallique et plaques de plâtre)

Le produit a été testé et approuvé en :
  • voir l'aperçu des classements dans la Déclaration des Performances.
  • L'installation est autorisée dans des parois qui ont une densité similaire ou supérieure à celle du test, comme décrit dans la norme EN 1366-3.
1
Fixez deux plaques de plâtre type GKF d’épaisseur 12,5 mm d'un côté de la paroi.
Prévoyez une réservation d'au moins ØD1 + 50 mm dans la paroi.
2
Isolez la paroi entre les profils métalliques et complétez avec deux plaques de plâtre GKF.
3
Placez le tuyau.
Enlevez l'étiquette. Ouvrez le manchon et placez-le autour du tuyau.
Insérez les languettes de fermeture dans les réservations prévues.
Repliez les languettes.
4
Centrez le manchon dans l'épaisseur de la paroi.
5
Resserrez la réservation à l’aide de plâtre.
Collez l’étiquette près du manchon.

Montage en paroi flexible et massive, calfeutrement à l'aide de panneaux de laine de roche rigides et enduit

Le produit a été testé et approuvé en :
  • voir l'aperçu des classements dans la Déclaration des Performances.
  • L'installation est autorisée dans des parois qui ont une densité similaire ou supérieure à celle du test, comme décrit dans la norme EN 1366-3.
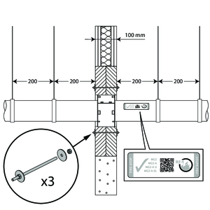
1
Prévoyez une réservation de max. 1000 x 600 mm.
2
Fixez deux plaques de plâtre type GKF d’épaisseur 12,5 mm d'un côté de la paroi. Isolez la paroi entre les profils étalliques (laine minérale 40 mm, 40 kg/m³) et complétez avec deux plaques de plâtre GKF.
3
Placez le(s) tuyau(x). La distance minimale entre deux tuyaux et entre un tuyau et le bord de la réservation est de 100 mm.
4
Enlevez l'étiquette, ouvrez le manchon et placez-le autour du tuyau. Insérez les languettes de fermeture dans les réservations prévues et pliez-les. Centrez le manchon dans l'épaisseur de la paroi.
5
Fixez un panneau de laine de roche d'épaisseur 50 mm recouverte d'enduit coupe-feu sur une face (type PROMASTOP-CB 50) autour du manchon. Utilisez une scie ou un cutter pour découper le panneau aux bonnes dimensions. Enduisez la tranche des panneaux et les joints d’enduit coupe-feu (type PROMASTOP-E).
6
Fixez le second panneau de laine de roche de min. 50 mm d’épaisseur autour du manchon. Veillez à ce que les joints des deux couches soient décalés. Enduisez la tranche des panneaux et les joints d’enduit coupe-feu (type PROMASTOP-E).
7
Installez 3 tiges filetées à travers les panneaux de laine de roche et fixez les à l’aide de rondelles et d’écrous M6.
Collez l’étiquette près du manchon.

Remarques générales

  • L'installation doit être conforme au rapport de classement et à la notice technique.
  • Le tuyau doit être supporté afin de pouvoir garantir le bon fonctionnement du colmatage lors d’un incendie. Les supports et fixations seront réalisés suivant les règles de l’art. Pour ce faire, veuillez vous référer aux instructions du fabricant du tuyau.
  • Si la réservation est plus grande que ce qui est indiqué, réduisez la réservation dans le mur/le dalle en utilisant le même matériau que le mur/le dalle.