- Home
- Producten
- Brandwerende kleppen
- CR2-L500
- Installatie
CR2-L500 - Installatie
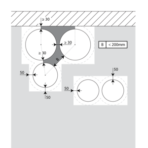
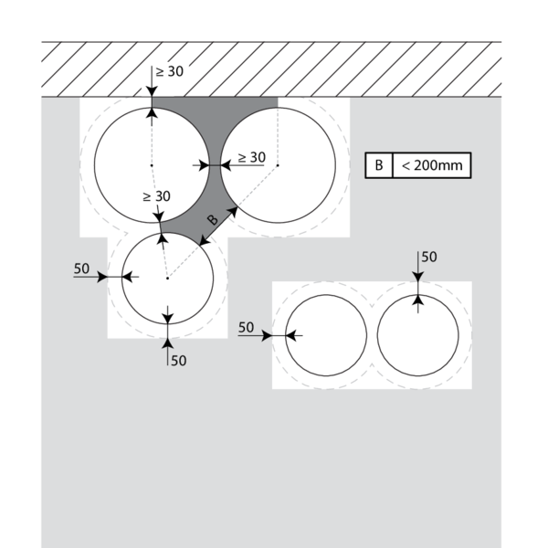
Plaatsing op minimale afstanden van een andere brandklep of van een aanpalende wand/vloer
Principe
Volgens de Europese testnorm EN 1366-2 bedraagt de minimaal vereiste afstand tussen 2 brandkleppen 200 mm en tussen een brandklep en een andere (draag)constructie 75 mm. Enkel als de klep op een kortere afstand van andere elementen werd getest, dan mag ze ook zo geplaatst worden. Deze brandklep van Rf-Technologies werd met succes getest en mag geïnstalleerd worden op een kortere afstand dan het door de norm vastgelegde minimum, zowel in verticale wand als in vloer/plafond.
Voor ronde brandkleppen bedraagt de minimale afstand 30 mm.
Volgens de Europese testnorm EN 1366-2 bedraagt de minimaal vereiste afstand tussen 2 brandkleppen 200 mm en tussen een brandklep en een andere (draag)constructie 75 mm. Enkel als de klep op een kortere afstand van andere elementen werd getest, dan mag ze ook zo geplaatst worden. Deze brandklep van Rf-Technologies werd met succes getest en mag geïnstalleerd worden op een kortere afstand dan het door de norm vastgelegde minimum, zowel in verticale wand als in vloer/plafond.
Voor ronde brandkleppen bedraagt de minimale afstand 30 mm.
Gecertificeerde oplossing
De gecertificeerde oplossing voor de Rf-t kleppen bestaat uit volgende elementen: A: Universele afdichting voor minimale afstanden; B: Afdichting volgens de reeds bestaande classificaties (zie Prestatieverklaring).
A. Afdichting van de opening aan de zijde met minimale afstanden t.o.v. een constructiedeel of een andere brandklep: harde steenwolplaten (150 kg/m³) over een diepte van min. 400 mm, waarvan 150 mm aan de mechanismezijde van de wand. Aan de niet-mechanismezijde van de wand moeten de steenwolplaten minstens gelijk met de wand uitkomen.
De oppervlakte van deze afdichting wordt bepaald tussen de centrale assen van de kleppen.
B. De overige afdichtingen kunnen worden uitgevoerd volgens de bestaande oplossingen (prestatieverklaring).
Dit is ook van toepassing voor ronde kleppen die dicht bij elkaar worden geplaatst (tussen 30 en 200 mm) maar op meer dan 75 mm afstand van een constructiedeel.
Gedetailleerde informatie voor elke combinatie wand/afdichting vindt u bij de betreffende installatiemethodes.
De gecertificeerde oplossing voor de Rf-t kleppen bestaat uit volgende elementen: A: Universele afdichting voor minimale afstanden; B: Afdichting volgens de reeds bestaande classificaties (zie Prestatieverklaring).
A. Afdichting van de opening aan de zijde met minimale afstanden t.o.v. een constructiedeel of een andere brandklep: harde steenwolplaten (150 kg/m³) over een diepte van min. 400 mm, waarvan 150 mm aan de mechanismezijde van de wand. Aan de niet-mechanismezijde van de wand moeten de steenwolplaten minstens gelijk met de wand uitkomen.
De oppervlakte van deze afdichting wordt bepaald tussen de centrale assen van de kleppen.
B. De overige afdichtingen kunnen worden uitgevoerd volgens de bestaande oplossingen (prestatieverklaring).
Dit is ook van toepassing voor ronde kleppen die dicht bij elkaar worden geplaatst (tussen 30 en 200 mm) maar op meer dan 75 mm afstand van een constructiedeel.
Gedetailleerde informatie voor elke combinatie wand/afdichting vindt u bij de betreffende installatiemethodes.
Beperkingen
De klep mag geplaatst worden met as horizontaal of tot maximaal 45°.
Er mogen maximaal 3 ronde kleppen naast elkaar op een minimale afstand geïnstalleerd worden, zowel verticaal als horizontaal (met een cluster van maximaal 4 kleppen).
Opmerking: bij het afdichten met brandwerende steenwolplaten is het maximale aantal kleppen ook afhankelijk van de maximale oppervlakte toegestaan voor het geselecteerde afdichtingsmateriaal. Voor deze informatie verwijzen wij u naar de instructies van de fabrikant.
De klep mag geplaatst worden met as horizontaal of tot maximaal 45°.
Er mogen maximaal 3 ronde kleppen naast elkaar op een minimale afstand geïnstalleerd worden, zowel verticaal als horizontaal (met een cluster van maximaal 4 kleppen).
Opmerking: bij het afdichten met brandwerende steenwolplaten is het maximale aantal kleppen ook afhankelijk van de maximale oppervlakte toegestaan voor het geselecteerde afdichtingsmateriaal. Voor deze informatie verwijzen wij u naar de instructies van de fabrikant.
Plaatsing in massieve wand
Het product werd getest en goedgekeurd in:
- Cellenbeton ≥ 100 mm | EI 120 (ve i o) S - (500 Pa) | Mortel / Gips | Installatiemethode: ingebouwd, 0-360°. Minimum afstand toegestaan met as tot 45°. | Ø 200-630 mm
- Cellenbeton ≥ 100 mm | EI 90 (ve i o) S - (300 Pa) | Mortel / Gips | Installatiemethode: ingebouwd, 0-360°. Minimum afstand toegestaan met as tot 45°. | Ø 200-630 mm
De brandkleppen mogen geïnstalleerd worden op een kortere afstand (≥ 30 mm) van een wand of van een andere klep.
Installeer de brandkleppen in de opening.
Dicht de opening aan de zijde met minimale afstanden af met harde steenwolplaten (≥ 150 kg/m³) over een diepte van 400 mm (150 mm aan de mechanismezijde van de wand).
De oppervlakte van deze afdichting wordt bepaald tussen de centrale assen van de kleppen.
Opgelet: de opening wordt afgedicht volgens de bestaande classificatie (zie het volgende punt) in het geval dat: - Twee brandkleppen worden geplaatst op minimale afstand van elkaar, maar op een standaard afstand van de wand/vloer. - Één enkele brandklep wordt geplaatst op minimale afstand (≤ 75 mm) van een wand of vloer.
Dicht de opening aan de zijde met minimale afstanden af met harde steenwolplaten (≥ 150 kg/m³) over een diepte van 400 mm (150 mm aan de mechanismezijde van de wand).
De oppervlakte van deze afdichting wordt bepaald tussen de centrale assen van de kleppen.
Opgelet: de opening wordt afgedicht volgens de bestaande classificatie (zie het volgende punt) in het geval dat: - Twee brandkleppen worden geplaatst op minimale afstand van elkaar, maar op een standaard afstand van de wand/vloer. - Één enkele brandklep wordt geplaatst op minimale afstand (≤ 75 mm) van een wand of vloer.
Plaatsing in massieve vloer (150 mm)
Het product werd getest en goedgekeurd in:
- Cellenbeton ≥ 150 mm | EI 120 (ho i o) S - (500 Pa) | Mortel | Installatiemethode: ingebouwd, 0-360°. Minimum afstand toegestaan. | Ø 200-630 mm
De brandkleppen mogen geïnstalleerd worden op een kortere afstand (≥ 30 mm) van een wand of van een andere klep.
Installeer de brandkleppen in de opening.
Dicht de opening aan de zijde met minimale afstanden af met harde steenwolplaten (≥ 150 kg/m³) over een diepte van 400 mm (150 mm aan de mechanismezijde van de wand).
De oppervlakte van deze afdichting wordt bepaald tussen de centrale assen van de kleppen.
Opgelet: de opening wordt afgedicht volgens de bestaande classificatie (zie het volgende punt) in het geval dat: - Twee brandkleppen worden geplaatst op minimale afstand van elkaar, maar op een standaard afstand van de wand/vloer. - Één enkele brandklep wordt geplaatst op minimale afstand (≤ 75 mm) van een wand of vloer.
Dicht de opening aan de zijde met minimale afstanden af met harde steenwolplaten (≥ 150 kg/m³) over een diepte van 400 mm (150 mm aan de mechanismezijde van de wand).
De oppervlakte van deze afdichting wordt bepaald tussen de centrale assen van de kleppen.
Opgelet: de opening wordt afgedicht volgens de bestaande classificatie (zie het volgende punt) in het geval dat: - Twee brandkleppen worden geplaatst op minimale afstand van elkaar, maar op een standaard afstand van de wand/vloer. - Één enkele brandklep wordt geplaatst op minimale afstand (≤ 75 mm) van een wand of vloer.
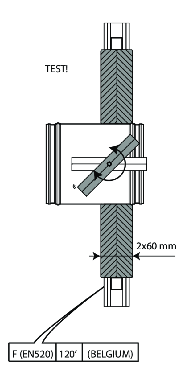
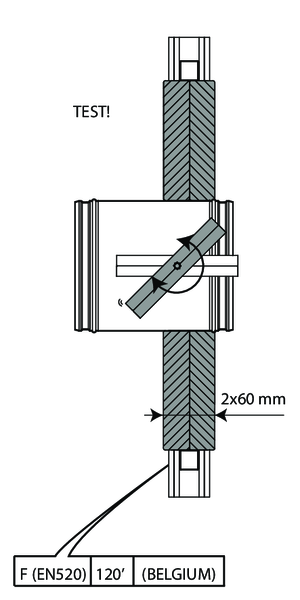
Plaatsing in flexibele wand (metal stud en gipskartonplaten)
Het product werd getest en goedgekeurd in:
- Metal stud gipsplatenwand Type F (EN 520) ≥ 100 mm | EI 90 (ve i o) S - (300 Pa) | Steenwol ≥ 40 kg/m³ + afdekplaten | Installatiemethode: ingebouwd, 0-360°. Minimum afstand toegestaan met as tot 45°. | Ø 200-630 mm
- Metal stud gipsplatenwand Type A (EN 520) ≥ 100 mm | EI 60 (ve i o) S - (500 Pa) | Steenwol ≥ 40 kg/m³ + afdekplaten | Installatiemethode: ingebouwd, 0-360°. Minimum afstand toegestaan met as tot 45°. | Ø 200-630 mm
De brandkleppen mogen geïnstalleerd worden op een kortere afstand (≥ 30 mm) van een wand of van een andere klep.
Monteer de lichte wand en voorzie horizontale en verticale studs waar nodig rond de opening.
In de opening rond de kleppen (Dn + 50 mm) wordt de ruimte tussen de gipskartonnen platen gevuld met steenwol met een minimale dichtheid van 40 kg/m³.
In de opening rond de kleppen (Dn + 50 mm) wordt de ruimte tussen de gipskartonnen platen gevuld met steenwol met een minimale dichtheid van 40 kg/m³.
Installeer de brandkleppen in de opening.
Dicht de opening aan de zijde met minimale afstanden af met harde steenwolplaten (≥ 150 kg/m³) over een diepte van 400 mm (150 mm aan de mechanismezijde van de wand).
Opgelet: de opening wordt afgedicht volgens de bestaande classificatie (zie het volgende punt) in het geval dat: - Twee brandkleppen worden geplaatst op minimale afstand van elkaar, maar op een standaard afstand van de wand/vloer. - Één enkele brandklep wordt geplaatst op minimale afstand (≤ 75 mm) van een wand of vloer.
Dicht de opening aan de zijde met minimale afstanden af met harde steenwolplaten (≥ 150 kg/m³) over een diepte van 400 mm (150 mm aan de mechanismezijde van de wand).
Opgelet: de opening wordt afgedicht volgens de bestaande classificatie (zie het volgende punt) in het geval dat: - Twee brandkleppen worden geplaatst op minimale afstand van elkaar, maar op een standaard afstand van de wand/vloer. - Één enkele brandklep wordt geplaatst op minimale afstand (≤ 75 mm) van een wand of vloer.
Plaatsing in flexibele wand - metal stud en gips
Het product werd getest en goedgekeurd in:
- Metal stud gipsplatenwand Type A (EN 520) ≥ 100 mm | EI 60 (ve i o) S - (500 Pa) | Gips | Installatiemethode: ingebouwd, 0-360°. Minimum afstand toegestaan met as tot 45°. | Ø 200-630 mm
- Metal stud gipsplatenwand Type F (EN 520) ≥ 100 mm | EI 120 (ve i o) S - (500 Pa) | Gips | Installatiemethode: ingebouwd, 0-360°. Minimum afstand toegestaan met as tot 45°. | Ø 200-630 mm
De brandkleppen mogen geïnstalleerd worden op een kortere afstand (≥ 30 mm) van een wand of van een andere klep.
Monteer de lichte wand en voorzie horizontale en verticale studs waar nodig rond de opening.
Bij plaatsing van één enkele brandklep op kortere afstand van het plafond, is het, vanuit brandtechnisch oogpunt, niet noodzakelijk om studs rond de opening te voorzien.
In de opening rond de kleppen wordt de ruimte tussen de gipskartonnen platen deels (tot Dn + 80 mm) gevuld met steenwol met een minimale dichtheid van 40 kg/m³.
Bij plaatsing van één enkele brandklep op kortere afstand van het plafond, is het, vanuit brandtechnisch oogpunt, niet noodzakelijk om studs rond de opening te voorzien.
In de opening rond de kleppen wordt de ruimte tussen de gipskartonnen platen deels (tot Dn + 80 mm) gevuld met steenwol met een minimale dichtheid van 40 kg/m³.
Installeer de brandkleppen in de opening.
Dicht de opening aan de zijde met minimale afstanden af met harde steenwolplaten (≥ 150 kg/m³) over een diepte van 400 mm (150 mm aan de mechanismezijde van de wand).
De oppervlakte van deze afdichting wordt bepaald tussen de centrale assen van de kleppen.
Opgelet: de opening wordt afgedicht volgens de bestaande classificatie (zie het volgende punt) in het geval dat: - Twee brandkleppen worden geplaatst op minimale afstand van elkaar, maar op een standaard afstand van de wand/vloer. - Één enkele brandklep wordt geplaatst op minimale afstand (≤ 75 mm) van een wand of vloer.
Dicht de opening aan de zijde met minimale afstanden af met harde steenwolplaten (≥ 150 kg/m³) over een diepte van 400 mm (150 mm aan de mechanismezijde van de wand).
De oppervlakte van deze afdichting wordt bepaald tussen de centrale assen van de kleppen.
Opgelet: de opening wordt afgedicht volgens de bestaande classificatie (zie het volgende punt) in het geval dat: - Twee brandkleppen worden geplaatst op minimale afstand van elkaar, maar op een standaard afstand van de wand/vloer. - Één enkele brandklep wordt geplaatst op minimale afstand (≤ 75 mm) van een wand of vloer.
Plaatsing in flexibele wand - metal stud en mortel
Het product werd getest en goedgekeurd in:
- Metal stud gipsplatenwand Type A (EN 520) ≥ 100 mm | EI 60 (ve i o) S - (300 Pa) | Mortel | Installatiemethode: ingebouwd, 0-360°. Minimum afstand toegestaan met as tot 45°. | Ø 200-630 mm
- Metal stud gipsplatenwand Type F (EN 520) ≥ 100 mm | EI 90 (ve i o) S - (300 Pa) | Mortel | Installatiemethode: ingebouwd, 0-360°. Minimum afstand toegestaan met as tot 45°. | Ø 200-630 mm
De brandkleppen mogen geïnstalleerd worden op een kortere afstand (≥ 30 mm) van een wand of van een andere klep.
Monteer de lichte wand en voorzie horizontale en verticale studs waar nodig rond de opening.
Bij plaatsing van één enkele brandklep op kortere afstand van het plafond, is het, vanuit brandtechnisch oogpunt, niet noodzakelijk om studs rond de opening te voorzien.
Bij een ronde wandopening wordt de ruimte tussen de gipskartonnen platen deels (tot Dn + 40 mm) gevuld met steenwol met een minimale dichtheid van 40kg/m³.
Bij plaatsing van één enkele brandklep op kortere afstand van het plafond, is het, vanuit brandtechnisch oogpunt, niet noodzakelijk om studs rond de opening te voorzien.
Bij een ronde wandopening wordt de ruimte tussen de gipskartonnen platen deels (tot Dn + 40 mm) gevuld met steenwol met een minimale dichtheid van 40kg/m³.
Installeer de brandkleppen in de opening.
Dicht de opening aan de zijde met minimale afstanden af met harde steenwolplaten (≥ 150 kg/m³) over een diepte van 400 mm (150 mm aan de mechanismezijde van de wand).
De oppervlakte van deze afdichting wordt bepaald tussen de centrale assen van de kleppen.
Opgelet: de opening wordt afgedicht volgens de bestaande classificatie (zie het volgende punt) in het geval dat: - Twee brandkleppen worden geplaatst op minimale afstand van elkaar, maar op een standaard afstand van de wand/vloer. - Één enkele brandklep wordt geplaatst op minimale afstand (≤ 75 mm) van een wand of vloer.
Dicht de opening aan de zijde met minimale afstanden af met harde steenwolplaten (≥ 150 kg/m³) over een diepte van 400 mm (150 mm aan de mechanismezijde van de wand).
De oppervlakte van deze afdichting wordt bepaald tussen de centrale assen van de kleppen.
Opgelet: de opening wordt afgedicht volgens de bestaande classificatie (zie het volgende punt) in het geval dat: - Twee brandkleppen worden geplaatst op minimale afstand van elkaar, maar op een standaard afstand van de wand/vloer. - Één enkele brandklep wordt geplaatst op minimale afstand (≤ 75 mm) van een wand of vloer.
Plaatsing in gipsblokkenwand
Het product werd getest en goedgekeurd in:
- Gipsblokken ≥ 70 mm | EI 120 (ve i o) S - (500 Pa) | Blokkenlijm | Installatiemethode: ingebouwd, 0-360°. Minimum afstand toegestaan met as tot 45°. | Ø 200-630 mm
De brandkleppen mogen geïnstalleerd worden op een kortere afstand van een wand of van een andere klep.
Installeer de brandkleppen in de opening.
Dicht de opening aan de zijde met minimale afstanden af met harde steenwolplaten (≥ 150 kg/m³) over een diepte van 400 mm (150 mm aan de mechanismezijde van de wand).
De oppervlakte van deze afdichting wordt bepaald tussen de centrale assen van de kleppen.
Opgelet: de opening wordt afgedicht volgens de bestaande classificatie (zie het volgende punt) in het geval dat: - Twee brandkleppen worden geplaatst op minimale afstand van elkaar, maar op een standaard afstand van de wand/vloer. - Één enkele brandklep wordt geplaatst op minimale afstand (≤ 75 mm) van een wand of vloer.
Dicht de opening aan de zijde met minimale afstanden af met harde steenwolplaten (≥ 150 kg/m³) over een diepte van 400 mm (150 mm aan de mechanismezijde van de wand).
De oppervlakte van deze afdichting wordt bepaald tussen de centrale assen van de kleppen.
Opgelet: de opening wordt afgedicht volgens de bestaande classificatie (zie het volgende punt) in het geval dat: - Twee brandkleppen worden geplaatst op minimale afstand van elkaar, maar op een standaard afstand van de wand/vloer. - Één enkele brandklep wordt geplaatst op minimale afstand (≤ 75 mm) van een wand of vloer.
Plaatsing in flexibele en massieve wand, afdichting met harde steenwolplaten met coating
Het product werd getest en goedgekeurd in:
- Cellenbeton ≥ 100 mm | EI 90 (ve i o) S - (300 Pa) | Gecoate steenwol + coating ≥ 140 kg/m³ | Installatiemethode: ingebouwd, 0-360°. Minimum afstand toegestaan met as tot 45°. | Ø 200-630 mm
- Cellenbeton ≥ 100 mm | EI 60 (ve i o) S - (300 Pa) | Gecoate steenwol Mulcol Multimastic FB1 + coating | Installatiemethode: ingebouwd, 0-360°. | Ø 200-630 mm
- Cellenbeton ≥ 100 mm | EI 120 (ve i o) S - (300 Pa) | Gecoate steenwol Pyro-Safe® MFP + coating | Installatiemethode: ingebouwd, 0-360°. | Ø 200-630 mm
- Metal stud gipsplatenwand Type A (EN 520) ≥ 100 mm | EI 60 (ve i o) S - (300 Pa) | Gecoate steenwol + coating ≥ 140 kg/m³ | Installatiemethode: ingebouwd, 0-360°. Minimum afstand toegestaan met as tot 45°. | Ø 200-630 mm
- Metal stud gipsplatenwand Type F (EN 520) ≥ 100 mm | EI 90 (ve i o) S - (300 Pa) | Gecoate steenwol + coating ≥ 140 kg/m³ | Installatiemethode: ingebouwd, 0-360°. Minimum afstand toegestaan met as tot 45°. | Ø 200-630 mm
- Metal stud gipsplatenwand Type F (EN 520) ≥ 100 mm | EI 60 (ve i o) S - (300 Pa) | Gecoate steenwol Mulcol Multimastic FB1 + coating | Installatiemethode: ingebouwd, 0-360°. | Ø 200-630 mm
- Metal stud gipsplatenwand Type F (EN 520) ≥ 100 mm | EI 120 (ve i o) S - (300 Pa) | Gecoate steenwol Pyro-Safe® MFP + coating | Installatiemethode: ingebouwd, 0-360°. | Ø 200-630 mm
Voorzie bij een flexibele wand horizontale en verticale studs rond de opening. Uitzondering: voor brandweerstand EI60S/EI90S én bij afdichting met platen van het type Promastop of Hilti is het, vanuit brandtechnisch oogpunt, niet noodzakelijk om studs rond de opening te voorzien.
De opening rond de klep wordt afgedicht met 2 harde steenwolplaten van 50 mm die eenzijdig voorzien zijn van 1 mm brandwerende coating (type PROMASTOP-CB 50 / PROMASTOP-CB/CC 50 / HILTI CFS-CT B / Mulcol Multimastic FB1 / PYRO-SAFE® FLAMMOTECT-A).
Deze platen moeten geschrankt geplaatst worden en de voegen moeten rondom rond bedekt worden met vulpasta (type PROMASTOP-CC / HILTI CFS-S-ACR / Mulcol Multimastic SP / PYRO-SAFE® FLAMMOTECT-A).
De brandklep moet niet centraal in de opening (met maximale afmetingen brandklep + 600 mm) geplaatst worden. De afstand tussen de brandklep en de rand van de opening is maximaal 400 mm.
De brandkleppen mogen geïnstalleerd worden op een kortere afstand (≥ 30 mm) van een wand of van een andere klep.
Monteer de lichte wand en voorzie horizontale en verticale studs waar nodig rond de opening.
Bij plaatsing van één enkele brandklep op kortere afstand van het plafond, is het, vanuit brandtechnisch oogpunt, niet noodzakelijk om studs rond de opening te voorzien in geval van gewenste brandweerstand EI60S/EI90S.
Installeer de brandkleppen in de opening.
Bij plaatsing van één enkele brandklep op kortere afstand van het plafond, is het, vanuit brandtechnisch oogpunt, niet noodzakelijk om studs rond de opening te voorzien in geval van gewenste brandweerstand EI60S/EI90S.
Installeer de brandkleppen in de opening.
Dicht de opening aan de zijde met minimale afstanden af met harde steenwolplaten (≥ 150 kg/m³) over een diepte van 400 mm (150 mm aan de mechanismezijde van de wand).
Opgelet: de opening wordt afgedicht volgens de bestaande classificatie (zie het volgende punt) in het geval dat: - Twee brandkleppen worden geplaatst op minimale afstand van elkaar, maar op een standaard afstand van de wand/vloer. - Één enkele brandklep wordt geplaatst op minimale afstand (≤ 75 mm) van een wand of vloer.
Opgelet: de opening wordt afgedicht volgens de bestaande classificatie (zie het volgende punt) in het geval dat: - Twee brandkleppen worden geplaatst op minimale afstand van elkaar, maar op een standaard afstand van de wand/vloer. - Één enkele brandklep wordt geplaatst op minimale afstand (≤ 75 mm) van een wand of vloer.
Plaatsing in massieve vloer, afdichting met harde steenwolplaten met coating
Het product werd getest en goedgekeurd in:
- Cellenbeton ≥ 150 mm | EI 120 (ho i o) S - (300 Pa) | Gecoate steenwol + coating ≥ 140 kg/m³ | Installatiemethode: ingebouwd, 0-360°. Minimum afstand toegestaan. | Ø 200-630 mm
De opening rond de klep wordt afgedicht met 2 harde steenwolplaten van 50 mm die eenzijdig voorzien zijn van 1 mm brandwerende coating (type PROMASTOP-CB 50 / PROMASTOP-CB/CC 50 / HILTI CFS-CT B).
Deze platen moeten geschrankt geplaatst worden en de voegen moeten rondom rond bedekt worden met vulpasta (type PROMASTOP-CC / HILTI CFS-S-ACR).
Inspectie van de klep via optie UL of via de smeltloodopening van het ONE mechanisme
Via een inspectieopening (enkel beschikbaar bij bestelling van de optie ‘UL’) kan de stand en toestand van de klep visueel met een endoscoop vastgesteld worden. Bij brandkleppen die uitgerust zijn met het ONE mechanisme is het ook mogelijk om deze camera-inspectie via de opening van het smeltlood uit te voeren.
Optie UL:
Verwijder het luchtdichte afsluitstuk van de klep.
Optie UL:
Verwijder het luchtdichte afsluitstuk van de klep.
Breng de endoscoop camera (bijvoorbeeld Inspecam Rf-t) in de opening en controleer de binnenzijde van de klep.
Plaats na inspectie het afsluitstuk correct terug op zijn plaats. De juiste positie is belangrijk voor het behoud van de luchtdichtheid van de klep.
Trek gelijktijdig het smeltlood met zijn rubber dop uit het mechanisme.
Breng de endoscoop camera (bijvoorbeeld Inspecam Rf-t) in de opening en controleer de binnenzijde van de klep.
Schuif het smeltlood terug in het mechanisme totdat deze vastklikt. Sluit het batterijcompartiment af met de rubberen dop.
Breng de endoscoop camera (bijvoorbeeld Inspecam Rf-t) in de opening en controleer de binnenzijde van de klep.
Schuif het smeltlood terug in het mechanisme totdat deze vastklikt. Sluit het batterijcompartiment af met de rubberen dop.
Algemene opmerkingen
- De plaatsing dient steeds te gebeuren conform het installatievoorschrift en het classificatierapport.
- Stand van de as: zie prestatieverklaring.
- Vermijd obstructie van aansluitende kanalen.
- Inbouw van het product: altijd met gesloten klepblad.
- Kijk na of het klepblad vrij kan bewegen.
- Bij montage dienen de veiligheidsafstanden t.o.v. andere constructie-elementen gerespecteerd te worden. Het bedieningsmechanisme moet ook toegankelijk zijn: voorzie een speling van 200 mm rond de behuizing.
- De klasse van luchtdichtheid blijft behouden indien de installatie van de brandklep gebeurt conform de installatievoorschriften
- Rf-t brandkleppen worden steeds getest in gestandaardiseerde draagconstructies volgens EN 1366-2. De behaalde resultaten gelden voor gelijksoortige draagconstructies met een brandweerstand, dikte en dichtheid gelijk aan of groter dan de draagconstructie van de test.
- Als de wanddikte groter is dan de minimale dikte aangegeven in onze installatievoorschriften, gelden volgende voorwaarden voor de afdichtdiepte: - Bij flexibele wanden en sandwichpaneelsysteemwanden moet de afdichting steeds over de volledige diepte van de wand aangebracht worden. - Bij massieve wanden, massieve vloeren en gipsblokkenwanden volstaat de minimale afdichtdiepte zoals aangeduid in onze installatievoorschriften (vaak gelijk aan de minimale wanddikte). Afdichting aan te brengen ter hoogte van het klepblad (vanaf de wall limit aanduiding/inbouwaanslag).
- Bij inbouw van een brandklep in een flexibele metal stud wand is het bij sommige installatiemethodes vanuit brandtechnisch oogpunt niet noodzakelijk om versterkingsprofielen rond de wandopening aan te brengen (zie verder). Hou voor opbouw van dit type wanden steeds rekening met de algemene instructies van de producent van deze wandsystemen.
- De klep moet bereikbaar zijn voor inspectie en onderhoud.
- Minstens 2 visuele controles per jaar zijn aangewezen.