MG2-A XL - Installatie

Plaatsing in massieve wand en vloer

Het product werd getest en goedgekeurd in:
  • zie classificatieoverzicht.
  • Draagconstructies met een hogere densiteit en/of dikte zijn eveneens toegelaten, zoals beschreven in EN 1366-3.
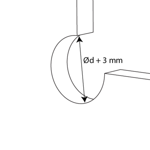
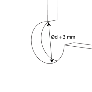
1
Voorzie een inbouwopening Ød + 3 mm.
2
Plaats de kunststofleiding in de opening en plaats de manchet over de leiding.
3
Sluit de manchet met behulp van de handgreep. Plaats vervolgens de bijgeleverde as door de scharnieren en plooi het beschermende lipje om.
4
Gebruik universele schroeven Ø 6 x 90 mm voor het bevestigen van de manchet aan de wand/vloer.
5
Plaats de tweede manchet op dezelfde manier aan de andere kant van de wand.
6
Eén manchet aan de onderzijde van de vloer volstaat voor doorvoeringen doorheen een massieve vloer.
7
Ondersteuning van de leiding is noodzakelijk om een functionele werking van de afdichting te garanderen in geval van brand. De leidingen moeten ondersteund en bevestigd worden volgens de regels van goed vakmanschap. Hiervoor verwijzen we naar de voorschriften van de fabrikant van de leidingen.

Algemene opmerkingen

  • De plaatsing dient steeds te gebeuren conform het installatievoorschrift en het classificatierapport.
  • Ondersteuning van de leiding is noodzakelijk om een functionele werking van de afdichting te garanderen in geval van brand. De leidingen moeten ondersteund en bevestigd worden volgens de regels van goed vakmanschap. Hiervoor verwijzen we naar de voorschriften van de fabrikant van de leidingen.
  • Wanneer de sparing groter is dan vermeld, dient men de opening in de wand/vloer te verkleinen met hetzelfde materiaal als de wand/vloer.