MG2-A XL - Installation

Montage en paroi et dalle massive

Le produit a été testé et approuvé en :
  • voir l'aperçu des classements.
  • L'installation est autorisée dans des parois qui ont une épaisseur et/ou densité similaire ou supérieure à celle du test, comme décrit dans la norme EN 1366-3.
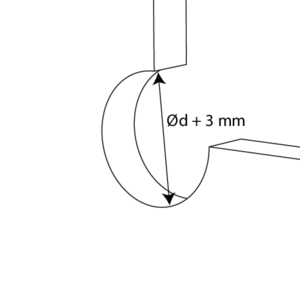
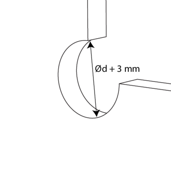
1
Prévoyez une ouverture Ød + 3 mm.
2
Placez le tuyau en plastique dans la réservation et posez le manchon autour du tuyau.
3
Fermez le manchon à l'aide du dispositif de fermeture. Glissez ensuite l'axe fourni à travers les charnières et repliez la languette protectrice.
4
Utilisez des vis standard Ø 6 x 90 mm pour fixer le manchon à la paroi/dalle.
5
Placez de la même façon le deuxième manchon de l'autre côté de la paroi.
6
Pour les traversées de dalles, un seul manchon placé sous la dalle est suffisant.
7
Le tuyau doit être supporté afin de pouvoir garantir le bon fonctionnement du colmatage lors d’un incendie. Les supports et fixations seront réalisés suivant les règles de l’art. Pour ce faire, veuillez vous référer aux instructions du fabricant du tuyau.

Remarques générales

  • L'installation doit être conforme au rapport de classement et à la notice technique.
  • Le tuyau doit être supporté afin de pouvoir garantir le bon fonctionnement du colmatage lors d’un incendie. Les supports et fixations seront réalisés suivant les règles de l’art. Pour ce faire, veuillez vous référer aux instructions du fabricant du tuyau.
  • Si la réservation est plus grande que ce qui est indiqué, réduisez la réservation dans le mur/le dalle en utilisant le même matériau que le mur/le dalle.