MG2-A XL - Installation

Installation in rigid wall and floor

The product was tested and approved in:
  • see the classification overview.
  • Mounting is authorised in supporting constructions with a thickness and/or density equal or superior to the supporting construction used during the test, as described in EN 1366-3.
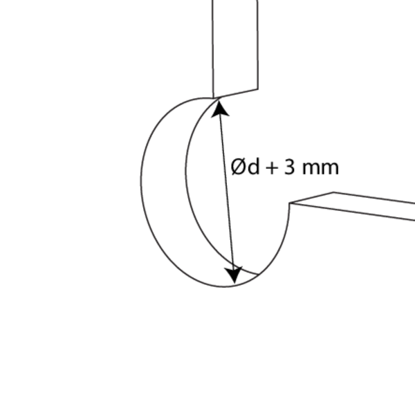
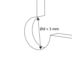
1
Provide an installation opening of Ød + 3 mm.
2
Install the plastic pipe in the opening and place the collar around the pipe.
3
Close the collar with the locking device. Insert the provided axis through the hinges and fold the protective flap.
4
Use standard screws Ø 6 x 90 mm to affix the collar to the wall/floor.
5
Place a collar on the other side in the same way.
6
One collar on the bottom side of the floor is sufficient for floor penetrations.
7
The pipe must be supported in order to guarantee the well-functioning of the sealing during a fire. Supports and fastenings should be realised according to the rules of good craftsmanship. For this, please refer to the pipe manufacturer's instructions.

General remarks

  • The installation must comply with the installation manual and the classification report.
  • The pipe must be supported in order to guarantee the well-functioning of the sealing during a fire. Supports and fastenings should be realised according to the rules of good craftsmanship. For this, please refer to the pipe manufacturer's instructions.
  • If the recess is larger than stated, reduce the opening in the wall/floor using the same material as the wall/floor.