- Home
- Producten
- Rookbeheersingskleppen
- VU120
- Installatie
VU120 - Installatie
Plaatsing in verticale en horizontale kanalen PROMATECT L500
Het product werd getest en goedgekeurd in:
- Promatect L500 ≥ 30 mm | EI 60 (ved hod i o) S 1500 AA multi | Opening tussen kanaal en klep (≤ 6 mm) afgedicht met brandwerende kit tot diepte ≥ 105 mm | Installatiemethode: in kanaal/op schacht gemonteerd 0/90°/180°/270°. Minimum afstand toegestaan. | 200x200 mm ≤ VU120+MANF/BEN + rooster ≤ 1200x800 mm; 1000x1000. 200x200 mm ≤ VU120+NF/SF + rooster ≤ 1200x650 mm; 950x750 mm
- Promatect L500 ≥ 40 mm | EI 90 (ved hod i o) S 1500 AA multi | Opening tussen kanaal en klep (≤ 6 mm) afgedicht met brandwerende kit tot diepte ≥ 105 mm | Installatiemethode: in kanaal/op schacht gemonteerd 0/90°/180°/270°. Minimum afstand toegestaan. | 200x200 mm ≤ VU120+MANF/BEN + rooster ≤ 1200x800 mm; 1000x1000. 200x200 mm ≤ VU120+NF/SF + rooster ≤ 1200x650 mm; 950x750 mm
- Promatect L500 ≥ 50 mm | EI 120 (ved hod i o) S 1500 AA multi | Opening tussen kanaal en klep (≤ 6 mm) afgedicht met brandwerende kit tot diepte ≥ 105 mm | Installatiemethode: in kanaal/op schacht gemonteerd 0/90°/180°/270°. Minimum afstand toegestaan. | 200x200 mm ≤ VU120+MANF/BEN + rooster ≤ 1200x800 mm; 1000x1000. 200x200 mm ≤ VU120+NF/SF + rooster ≤ 1200x650 mm; 950x750 mm
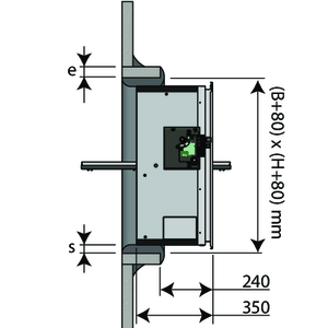
Maak een opening met afmeting (B+A) x (H+A) mm. A = 2 x dikte kraag (e) + 6 mm.
Plaats een kraag uit hetzelfde materiaal en dezelfde dikte als het kanaal (dikte e) met een diepte van minimum 105 mm in de opening.
Bevestig de kraag aan de kanaalwand.
Voorzie de opening van Promacol S.
Positioneer de klep in de opening met behulp van 12 bouten Ø5x60 (horizontaal kanaal) of 10 bouten Ø5x60 (verticaal kanaal).
Opgelet: zorg ervoor dat de bouten niet uitsteken voorbij de dikte van de kraag!
De afdichting tussen de behuizing en het kanaal (S) moet volledig worden gevuld met vuurvaste coating (type Promacol S). Steun de tunnel of draai de klep in zijn gesloten positie om vervorming van de behuizing tijdens het drogen van het afdichtingsmateriaal te voorkomen.
Bevestig het rooster aan het kader met lijm type Polyflex.
Controleer de vrije beweging van het klepblad.
Test de goede werking van het mechanisme van de klep.
Plaats een kraag uit hetzelfde materiaal en dezelfde dikte als het kanaal (dikte e) met een diepte van minimum 105 mm in de opening.
Bevestig de kraag aan de kanaalwand.
Voorzie de opening van Promacol S.
Positioneer de klep in de opening met behulp van 12 bouten Ø5x60 (horizontaal kanaal) of 10 bouten Ø5x60 (verticaal kanaal).
Opgelet: zorg ervoor dat de bouten niet uitsteken voorbij de dikte van de kraag!
De afdichting tussen de behuizing en het kanaal (S) moet volledig worden gevuld met vuurvaste coating (type Promacol S). Steun de tunnel of draai de klep in zijn gesloten positie om vervorming van de behuizing tijdens het drogen van het afdichtingsmateriaal te voorkomen.
Bevestig het rooster aan het kader met lijm type Polyflex.
Controleer de vrije beweging van het klepblad.
Test de goede werking van het mechanisme van de klep.
Plaatsing in verticale en horizontale kanalen GEOFLAM (LIGHT)
Het product werd getest en goedgekeurd in:
- Geoflam ≥ 30 mm | EI 60 (ved hod i o) S 1500 AA multi | Opening tussen kanaal en klep (≤ 80 mm) afgedicht met brandwerende kit tot diepte ≥ 105 mm | Installatiemethode: in kanaal/op schacht gemonteerd 0/90°/180°/270°. Minimum afstand toegestaan. | 200x200 mm ≤ VU120+MANF/BEN + rooster ≤ 1200x800 mm; 1000x1000. 200x200 mm ≤ VU120+NF/SF + rooster ≤ 1200x650 mm; 950x750 mm
- Geoflam ≥ 35 mm | EI 90 (ved hod i o) S 1500 AA multi | Opening tussen kanaal en klep (≤ 80 mm) afgedicht met brandwerende kit tot diepte ≥ 105 mm | Installatiemethode: in kanaal/op schacht gemonteerd 0/90°/180°/270°. Minimum afstand toegestaan. | 200x200 mm ≤ VU120+MANF/BEN + rooster ≤ 1200x800 mm; 1000x1000. 200x200 mm ≤ VU120+NF/SF + rooster ≤ 1200x650 mm; 950x750 mm
- Geoflam ≥ 45 mm | EI 120 (ved hod i o) S 1500 AA multi | Opening tussen kanaal en klep (≤ 80 mm) afgedicht met brandwerende kit tot diepte ≥ 105 mm | Installatiemethode: in kanaal/op schacht gemonteerd 0/90°/180°/270°. Minimum afstand toegestaan. | 200x200 mm ≤ VU120+MANF/BEN + rooster ≤ 1200x800 mm; 1000x1000. 200x200 mm ≤ VU120+NF/SF + rooster ≤ 1200x650 mm; 950x750 mm
- Geoflam Light ≥ 35 mm | EI 120 (ved hod i o) S 1500 AA multi | Opening tussen kanaal en klep (≤ 80 mm) afgedicht met brandwerende kit tot diepte ≥ 105 mm | Installatiemethode: in kanaal/op schacht gemonteerd 0/90°/180°/270°. Minimum afstand toegestaan. | 200x200 mm ≤ VU120+MANF/BEN + rooster ≤ 1200x800 mm; 1000x1000. 200x200 mm ≤ VU120+NF/SF + rooster ≤ 1200x650 mm; 950x750 mm
Maak een opening met afmeting (B+80) x (H+80) mm.
Plaats een kraag uit hetzelfde materiaal en dezelfde dikte als het kanaal (dikte e) met een diepte van minimum 105 mm in de opening.
Dicht de naden tussen de opstaande en dwarse balken en tussen de kraag en de kanaalwand af met een mengsel van plaaster en sisal vezel.
De afdichting tussen de behuizing en het kanaal (S) moet volledig worden gevuld met een mengsel van plaaster en sisal vezel. Steun de tunnel of draai de klep in zijn gesloten positie om vervorming van de behuizing tijdens het drogen van het afdichtingsmateriaal te voorkomen.
Bevestig het rooster aan het kader met lijm type Polyflex.
Controleer de vrije beweging van het klepblad.
Test de goede werking van het mechanisme van de klep.
Plaats een kraag uit hetzelfde materiaal en dezelfde dikte als het kanaal (dikte e) met een diepte van minimum 105 mm in de opening.
Dicht de naden tussen de opstaande en dwarse balken en tussen de kraag en de kanaalwand af met een mengsel van plaaster en sisal vezel.
De afdichting tussen de behuizing en het kanaal (S) moet volledig worden gevuld met een mengsel van plaaster en sisal vezel. Steun de tunnel of draai de klep in zijn gesloten positie om vervorming van de behuizing tijdens het drogen van het afdichtingsmateriaal te voorkomen.
Bevestig het rooster aan het kader met lijm type Polyflex.
Controleer de vrije beweging van het klepblad.
Test de goede werking van het mechanisme van de klep.
Plaatsing in verticale en horizontale kanalen GEOTEC
Het product werd getest en goedgekeurd in:
- Geotec ≥ 30 mm | EI 60 (ved hod i o) S 1500 AA multi | Opening tussen kanaal en klep (≤ 80 mm) afgedicht met brandwerende kit tot diepte ≥ 105 mm | Installatiemethode: in kanaal/op schacht gemonteerd 0/90°/180°/270°. Minimum afstand toegestaan. | 200x200 mm ≤ VU120+MANF/BEN + rooster ≤ 1200x800 mm; 1000x1000. 200x200 mm ≤ VU120+NF/SF + rooster ≤ 1200x650 mm; 950x750 mm
- Geotec ≥ 45 mm | EI 120 (ved hod i o) S 1500 AA multi | Opening tussen kanaal en klep (≤ 80 mm) afgedicht met brandwerende kit tot diepte ≥ 105 mm | Installatiemethode: in kanaal/op schacht gemonteerd 0/90°/180°/270°. Minimum afstand toegestaan. | 200x200 mm ≤ VU120+MANF/BEN + rooster ≤ 1200x800 mm; 1000x1000. 200x200 mm ≤ VU120+NF/SF + rooster ≤ 1200x650 mm; 950x750 mm
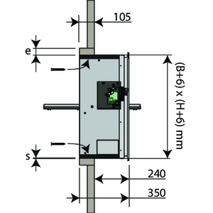
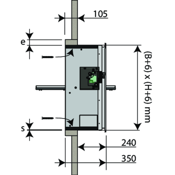
Maak een opening met afmeting (B+80) x (H+80) mm (indien afdichting met een mengsel van plaaster en sisal vezel) of een opening met afmeting (B+6) x (H+6) mm (indien afdichting met lijm en schroeven).
Plaats een kraag uit hetzelfde materiaal en dezelfde dikte als het kanaal (dikte e) met een diepte van minimum 105 mm in de opening.
Dicht de naden tussen de opstaande en dwarse balken en tussen de kraag en de kanaalwand af met een mengsel van plaaster en sisal vezel of bevestig de kraag aan de kanaalwand met lijm en schroeven Ø 5 x (2 x e) mm in stappen van 100 mm.
Plaats de klep in de opening.
De afdichting tussen de behuizing en het kanaal (S) moet volledig worden gevuld met een mengsel van plaaster en sisal vezel of met lijm GEOCOL en schroeven. Steun de tunnel of draai de klep in zijn gesloten positie om vervorming van de behuizing tijdens het drogen van het afdichtingsmateriaal te voorkomen.
Bevestig het rooster aan het kader met lijm type Polyflex.
Controleer de vrije beweging van het klepblad.
Test de goede werking van het mechanisme van de klep.
Plaats een kraag uit hetzelfde materiaal en dezelfde dikte als het kanaal (dikte e) met een diepte van minimum 105 mm in de opening.
Dicht de naden tussen de opstaande en dwarse balken en tussen de kraag en de kanaalwand af met een mengsel van plaaster en sisal vezel of bevestig de kraag aan de kanaalwand met lijm en schroeven Ø 5 x (2 x e) mm in stappen van 100 mm.
Plaats de klep in de opening.
De afdichting tussen de behuizing en het kanaal (S) moet volledig worden gevuld met een mengsel van plaaster en sisal vezel of met lijm GEOCOL en schroeven. Steun de tunnel of draai de klep in zijn gesloten positie om vervorming van de behuizing tijdens het drogen van het afdichtingsmateriaal te voorkomen.
Bevestig het rooster aan het kader met lijm type Polyflex.
Controleer de vrije beweging van het klepblad.
Test de goede werking van het mechanisme van de klep.
Plaatsing in verticale en horizontale kanalen TECNIVER
Het product werd getest en goedgekeurd in:
- Tecniver ≥ 35 mm | EI 60 (ved hod i o) S 1500 AA multi | Opening tussen kanaal en klep (≤ 6 mm) afgedicht met brandwerende kit tot diepte ≥ 105 mm | Installatiemethode: in kanaal/op schacht gemonteerd 0/90°/180°/270°. Minimum afstand toegestaan. | 200x200 mm ≤ VU120+MANF/BEN + rooster ≤ 1200x800 mm; 1000x1000. 200x200 mm ≤ VU120+NF/SF + rooster ≤ 1200x650 mm; 950x750 mm
- Tecniver ≥ 45 mm | EI 90 (ved hod i o) S 1500 AA multi | Opening tussen kanaal en klep (≤ 6 mm) afgedicht met brandwerende kit tot diepte ≥ 105 mm | Installatiemethode: in kanaal/op schacht gemonteerd 0/90°/180°/270°. Minimum afstand toegestaan. | 200x200 mm ≤ VU120+MANF/BEN + rooster ≤ 1200x800 mm; 1000x1000. 200x200 mm ≤ VU120+NF/SF + rooster ≤ 1200x650 mm; 950x750 mm
- Tecniver ≥ 50 mm | EI 120 (ved hod i o) S 1500 AA multi | Opening tussen kanaal en klep (≤ 6 mm) afgedicht met brandwerende kit tot diepte ≥ 105 mm | Installatiemethode: in kanaal/op schacht gemonteerd 0/90°/180°/270°. Minimum afstand toegestaan. | 200x200 mm ≤ VU120+MANF/BEN + rooster ≤ 1200x800 mm; 1000x1000. 200x200 mm ≤ VU120+NF/SF + rooster ≤ 1200x650 mm; 950x750 mm
Maak een opening met afmeting (B+A) x (H+A) mm. A = 2 x dikte kraag (e) + 6 mm.
Plaats een kraag uit hetzelfde materiaal en dezelfde dikte als het kanaal (dikte e) met een diepte van minimum 105 mm in de opening.
Bevestig de kraag aan de kanaalwand.
Voorzie de groeven van de opening en de balken van de kraag van lijm type CF GLUE.
Positioneer de klep in de opening met behulp van 12 bouten Ø5x60 (horizontaal kanaal) of 10 bouten Ø5x60 (verticaal kanaal).
Opgelet: zorg ervoor dat de bouten niet uitsteken voorbij de dikte van de kraag!
De afdichting tussen de behuizing en het kanaal (S) moet volledig worden gevuld met lijm (type CF glue). Steun de tunnel of draai de klep in zijn gesloten positie om vervorming van de behuizing tijdens het drogen van het afdichtingsmateriaal te voorkomen.
Bevestig het rooster aan het kader met lijm type Polyflex.
Controleer de vrije beweging van het klepblad.
Test de goede werking van het mechanisme van de klep.
Plaats een kraag uit hetzelfde materiaal en dezelfde dikte als het kanaal (dikte e) met een diepte van minimum 105 mm in de opening.
Bevestig de kraag aan de kanaalwand.
Voorzie de groeven van de opening en de balken van de kraag van lijm type CF GLUE.
Positioneer de klep in de opening met behulp van 12 bouten Ø5x60 (horizontaal kanaal) of 10 bouten Ø5x60 (verticaal kanaal).
Opgelet: zorg ervoor dat de bouten niet uitsteken voorbij de dikte van de kraag!
De afdichting tussen de behuizing en het kanaal (S) moet volledig worden gevuld met lijm (type CF glue). Steun de tunnel of draai de klep in zijn gesloten positie om vervorming van de behuizing tijdens het drogen van het afdichtingsmateriaal te voorkomen.
Bevestig het rooster aan het kader met lijm type Polyflex.
Controleer de vrije beweging van het klepblad.
Test de goede werking van het mechanisme van de klep.
Plaatsing in verticale en horizontale kanalen GLASROC F V500
Het product werd getest en goedgekeurd in:
- Glasroc F V500 ≥ 35 mm | EI 60 (ved hod i o) S 1500 AA multi | Opening tussen kanaal en klep (≤ 6 mm) afgedicht met brandwerende kit tot diepte ≥ 105 mm | Installatiemethode: in kanaal/op schacht gemonteerd 0/90°/180°/270°. Minimum afstand toegestaan. | 200x200 mm ≤ VU120+MANF/BEN + rooster ≤ 1200x800 mm; 1000x1000. 200x200 mm ≤ VU120+NF/SF + rooster ≤ 1200x650 mm; 950x750 mm
- Glasroc F V500 ≥ 50 mm | EI 120 (ved hod i o) S 1500 AA multi | Opening tussen kanaal en klep (≤ 6 mm) afgedicht met brandwerende kit tot diepte ≥ 105 mm | Installatiemethode: in kanaal/op schacht gemonteerd 0/90°/180°/270°. Minimum afstand toegestaan. | 200x200 mm ≤ VU120+MANF/BEN + rooster ≤ 1200x800 mm; 1000x1000. 200x200 mm ≤ VU120+NF/SF + rooster ≤ 1200x650 mm; 950x750 mm
Maak een opening met afmeting (B+A) x (H+A) mm. A = 2 x dikte kraag (e) + 6 mm.
Plaats een kraag uit hetzelfde materiaal en dezelfde dikte als het kanaal (dikte e) met een diepte van minimum 105 mm in de opening.
Bevestig de kraag aan de kanaalwand.
Voorzie de groeven van de opening en de balken van de kraag van lijm type GLASROC F V500.
Positioneer de klep in de opening met behulp van 12 bouten Ø5x60 (horizontaal kanaal) of 10 bouten Ø5x60 (verticaal kanaal).
Opgelet: zorg ervoor dat de bouten niet uitsteken voorbij de dikte van de kraag!
De afdichting tussen de behuizing en het kanaal (S) moet volledig worden gevuld met lijm (type Glasroc F V500). Steun de tunnel of draai de klep in zijn gesloten positie om vervorming van de behuizing tijdens het drogen van het afdichtingsmateriaal te voorkomen.
Bevestig het rooster aan het kader met lijm type Polyflex.
Controleer de vrije beweging van het klepblad.
Test de goede werking van het mechanisme van de klep.
Plaats een kraag uit hetzelfde materiaal en dezelfde dikte als het kanaal (dikte e) met een diepte van minimum 105 mm in de opening.
Bevestig de kraag aan de kanaalwand.
Voorzie de groeven van de opening en de balken van de kraag van lijm type GLASROC F V500.
Positioneer de klep in de opening met behulp van 12 bouten Ø5x60 (horizontaal kanaal) of 10 bouten Ø5x60 (verticaal kanaal).
Opgelet: zorg ervoor dat de bouten niet uitsteken voorbij de dikte van de kraag!
De afdichting tussen de behuizing en het kanaal (S) moet volledig worden gevuld met lijm (type Glasroc F V500). Steun de tunnel of draai de klep in zijn gesloten positie om vervorming van de behuizing tijdens het drogen van het afdichtingsmateriaal te voorkomen.
Bevestig het rooster aan het kader met lijm type Polyflex.
Controleer de vrije beweging van het klepblad.
Test de goede werking van het mechanisme van de klep.
Plaatsing in verticale en horizontale kanalen EXTHAMAT
Het product werd getest en goedgekeurd in:
- Exthamat ≥ 25 mm | EI 60 (ved hod i o) S 1500 AA multi | Opening tussen kanaal en klep (≤ 80 mm) afgedicht met brandwerende kit tot diepte ≥ 105 mm | Installatiemethode: in kanaal/op schacht gemonteerd 0/90°/180°/270°. Minimum afstand toegestaan. | 200x200 mm ≤ VU120+MANF/BEN + rooster ≤ 1200x800 mm; 1000x1000. 200x200 mm ≤ VU120+NF/SF + rooster ≤ 1200x650 mm; 950x750 mm
- Exthamat ≥ 30 mm | EI 90 (ved hod i o) S 1500 AA multi | Opening tussen kanaal en klep (≤ 80 mm) afgedicht met brandwerende kit tot diepte ≥ 105 mm | Installatiemethode: in kanaal/op schacht gemonteerd 0/90°/180°/270°. Minimum afstand toegestaan. | 200x200 mm ≤ VU120+MANF/BEN + rooster ≤ 1200x800 mm; 1000x1000. 200x200 mm ≤ VU120+NF/SF + rooster ≤ 1200x650 mm; 950x750 mm
- Exthamat ≥ 35 mm | EI 120 (ved hod i o) S 1500 AA multi | Opening tussen kanaal en klep (≤ 80 mm) afgedicht met brandwerende kit tot diepte ≥ 105 mm | Installatiemethode: in kanaal/op schacht gemonteerd 0/90°/180°/270°. Minimum afstand toegestaan. | 200x200 mm ≤ VU120+MANF/BEN + rooster ≤ 1200x800 mm; 1000x1000. 200x200 mm ≤ VU120+NF/SF + rooster ≤ 1200x650 mm; 950x750 mm
Maak een opening met afmeting (B+80) x (H+80) mm.
Plaats een kraag uit hetzelfde materiaal en dezelfde dikte als het kanaal (dikte e) met een diepte van minimum 105 mm in de opening.
Dicht de naden tussen de opstaande en dwarse balken en tussen de kraag en de kanaalwand af met een mengsel van plaaster en sisal vezel.
De afdichting tussen de behuizing en het kanaal (S) moet volledig worden gevuld met een mengsel van plaaster en sisal vezel. Steun de tunnel of draai de klep in zijn gesloten positie om vervorming van de behuizing tijdens het drogen van het afdichtingsmateriaal te voorkomen.
Bevestig het rooster aan het kader met lijm type Polyflex.
Controleer de vrije beweging van het klepblad.
Test de goede werking van het mechanisme van de klep.
Plaats een kraag uit hetzelfde materiaal en dezelfde dikte als het kanaal (dikte e) met een diepte van minimum 105 mm in de opening.
Dicht de naden tussen de opstaande en dwarse balken en tussen de kraag en de kanaalwand af met een mengsel van plaaster en sisal vezel.
De afdichting tussen de behuizing en het kanaal (S) moet volledig worden gevuld met een mengsel van plaaster en sisal vezel. Steun de tunnel of draai de klep in zijn gesloten positie om vervorming van de behuizing tijdens het drogen van het afdichtingsmateriaal te voorkomen.
Bevestig het rooster aan het kader met lijm type Polyflex.
Controleer de vrije beweging van het klepblad.
Test de goede werking van het mechanisme van de klep.
Plaatsing in verticale en horizontale kanalen DESENFIRE (HD/THD/STR)
Het product werd getest en goedgekeurd in:
- Desenfire HD ≥ 25 mm | EI 60 (ved hod i o) S 1500 AA multi | Opening tussen kanaal en klep (≤ 80 mm) afgedicht met brandwerende kit tot diepte ≥ 105 mm | Installatiemethode: in kanaal/op schacht gemonteerd 0/90°/180°/270°. Minimum afstand toegestaan. | 200x200 mm ≤ VU120+MANF/BEN + rooster ≤ 1200x800 mm; 1000x1000. 200x200 mm ≤ VU120+NF/SF + rooster ≤ 1200x650 mm; 950x750 mm
- Desenfire HD ≥ 35 mm | EI 120 (ved hod i o) S 1500 AA multi | Opening tussen kanaal en klep (≤ 80 mm) afgedicht met brandwerende kit tot diepte ≥ 105 mm | Installatiemethode: in kanaal/op schacht gemonteerd 0/90°/180°/270°. Minimum afstand toegestaan. | 200x200 mm ≤ VU120+MANF/BEN + rooster ≤ 1200x800 mm; 1000x1000. 200x200 mm ≤ VU120+NF/SF + rooster ≤ 1200x650 mm; 950x750 mm
- Desenfire STR ≥ 25 mm | EI 120 (ved hod i o) S 1500 AA multi | Opening tussen kanaal en klep (≤ 80 mm) afgedicht met brandwerende kit tot diepte ≥ 105 mm | Installatiemethode: in kanaal/op schacht gemonteerd 0/90°/180°/270°. Minimum afstand toegestaan. | 200x200 mm ≤ VU120+MANF/BEN + rooster ≤ 1200x800 mm; 1000x1000. 200x200 mm ≤ VU120+NF/SF + rooster ≤ 1200x650 mm; 950x750 mm
Maak een opening met afmeting (B+80) x (H+80) mm.
Plaats een kraag uit hetzelfde materiaal en dezelfde dikte als het kanaal (dikte e) met een diepte van minimum 105 mm in de opening.
Dicht de naden tussen de opstaande en dwarse balken en tussen de kraag en de kanaalwand af met een mengsel van plaaster en sisal vezel.
De afdichting tussen de behuizing en het kanaal (S) moet volledig worden gevuld met een mengsel van plaaster en sisal vezel. Steun de tunnel of draai de klep in zijn gesloten positie om vervorming van de behuizing tijdens het drogen van het afdichtingsmateriaal te voorkomen.
Bevestig het rooster aan het kader met lijm type Polyflex.
Controleer de vrije beweging van het klepblad.
Test de goede werking van het mechanisme van de klep.
Plaats een kraag uit hetzelfde materiaal en dezelfde dikte als het kanaal (dikte e) met een diepte van minimum 105 mm in de opening.
Dicht de naden tussen de opstaande en dwarse balken en tussen de kraag en de kanaalwand af met een mengsel van plaaster en sisal vezel.
De afdichting tussen de behuizing en het kanaal (S) moet volledig worden gevuld met een mengsel van plaaster en sisal vezel. Steun de tunnel of draai de klep in zijn gesloten positie om vervorming van de behuizing tijdens het drogen van het afdichtingsmateriaal te voorkomen.
Bevestig het rooster aan het kader met lijm type Polyflex.
Controleer de vrije beweging van het klepblad.
Test de goede werking van het mechanisme van de klep.
Plaatsing in verticale schachten beton
Het product werd getest en goedgekeurd in:
- Metselwerk, betonblokken, beton ≥ 100 mm | EI 120 (ved i o) S 1500 AA multi | Mortel | Installatiemethode: in kanaal/op schacht gemonteerd 0/90°/180°/270°. Minimum afstand toegestaan. | 200x200 mm ≤ VU120+MANF/BEN + rooster ≤ 1200x800 mm; 1000x1000. 200x200 mm ≤ VU120+NF/SF + rooster ≤ 1200x650 mm; 950x750 mm
- Gewapend beton (≥ 2150 kg/m³) ≥ 70 mm | EI 90 (ved i o) S 1500 AA multi | Mortel | Installatiemethode: in kanaal/op schacht gemonteerd 0/90°/180°/270°. Minimum afstand toegestaan. | 200x200 mm ≤ VU120+MANF/BEN + rooster ≤ 1200x800 mm; 1000x1000. 200x200 mm ≤ VU120+NF/SF + rooster ≤ 1200x650 mm; 950x750 mm
Maak een opening met afmeting (B+20) x (H+20) tot (B+100) x (H+100) mm.
Plaats de klep in de opening. De voeg tussen de tunnel en de schacht (S) dient te worden opgevuld over de volledige breedte van de schacht met standaard mortel.
Stut de tunnel en plaats het klepblad in gesloten toestand om vervorming van de tunnel tijdens het uitdrogen van de afdichting tegen te gaan.
Bevestig het rooster aan het kader met lijm type Polyflex.
Controleer de vrije beweging van het klepblad.
Test de goede werking van het mechanisme van de klep.
Plaats de klep in de opening. De voeg tussen de tunnel en de schacht (S) dient te worden opgevuld over de volledige breedte van de schacht met standaard mortel.
Stut de tunnel en plaats het klepblad in gesloten toestand om vervorming van de tunnel tijdens het uitdrogen van de afdichting tegen te gaan.
Bevestig het rooster aan het kader met lijm type Polyflex.
Controleer de vrije beweging van het klepblad.
Test de goede werking van het mechanisme van de klep.
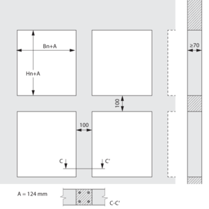
Plaatsing met minimale tussenafstanden
De rookbeheersingskleppen mogen op minimale tussenafstand gemonteerd worden boven of naast elkaar, indien ze gemonteerd zijn in aparte kragen uit kanaalmateriaal met de gewenste brandweerstand. Het is aangeraden om de configuratie niet groter dan 2 x 4 (H x B) te maken.
Als meerdere rookbeheersingskleppen op minimale tussenafstand gemonteerd worden, dan moeten de draag- en versterkingspunten van het kanaal worden aangepast in verhouding tot het toegenomen gewicht. De plaatsing van het kanaal dient steeds te gebeuren conform het classificatierapport van de kanaalfabrikant.
Algemene opmerkingen
- De plaatsing dient steeds te gebeuren conform het installatievoorschrift en het classificatierapport.
- De plaatsing van het rookbeheersingskanaal dient steeds te gebeuren conform het classificatierapport van de fabrikant.
- As oriëntatie: zie prestatieverklaring.
- Vermijd obstructie van aansluitende rookbeheersingskanalen.
- Kijk na of het klepblad vrij kan bewegen.
- Rf-t rookbeheersingskleppen mogen geplaatst worden in rookbeheersingskanalen die, naar gelang het geval, getest werden volgens EN 1366-8 en EN 1366-9.
- Opgelet: tijdens de plaatsing moet het product voorzichtig behandeld worden en beschermd blijven tegen afdichtingsproducten.
- Opgelet: voor het opstarten van het systeem moeten stof en vuil verwijderd worden.
- Opgelet: hou rekening met de minimale vrije ruimte bij het openen van het klepblad.