- Home
- Produits
- Clapets coupe-feu
- CR2
- Installation
CR2 - Installation
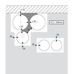
Installation à distance minimale d'un autre clapet ou d'une paroi adjacente
Principe
Selon la norme d’essai européenne EN 1366-2, un clapet coupe-feu doit être installé à une distance minimale de 75 mm d’une paroi adjacente et de 200 mm d’un autre clapet, sauf si la solution a été testée à une distance inférieure. Cette gamme de clapets Rf-t a été testée avec succès et peut être installée, en paroi verticale ou en dalle, à une distance inférieure au minimum imposé par la norme.
Pour les clapets circulaires, la distance minimale est fixée à 30 mm.
Selon la norme d’essai européenne EN 1366-2, un clapet coupe-feu doit être installé à une distance minimale de 75 mm d’une paroi adjacente et de 200 mm d’un autre clapet, sauf si la solution a été testée à une distance inférieure. Cette gamme de clapets Rf-t a été testée avec succès et peut être installée, en paroi verticale ou en dalle, à une distance inférieure au minimum imposé par la norme.
Pour les clapets circulaires, la distance minimale est fixée à 30 mm.
Solution certifiée
La solution certifiée pour les clapets Rf-t se compose des éléments suivants : A : colmatage universel distance minimale; B : colmatage selon déclaration des performances.
A. Colmatage de la réservation du côté des distances minimales par rapport à une paroi/dalle adjacente ou un autre clapet coupe-feu : des panneaux rigides de laine de roche (150 kg/m³) sont appliqués sur une profondeur de min. 400 mm, dont 150 mm sur le côté mécanique de la paroi. Les panneaux de laine de roche doivent au moins affleurer le mur.
La surface de ce colmatage est fixée entre les axes (centres) des clapets.
B. Colmatage du reste de la réservation selon les solutions existantes (déclaration des performances).
Cela est également également applicable pour les clapets circulaires posés à distance minimales l’un de l’autre (entre 30 et 200 mm) mais plus de 75 mm d’une paroi.
Des informations détaillées pour chaque combinaison paroi/colmatage se trouvent sous les méthodes d'installation respectives.
La solution certifiée pour les clapets Rf-t se compose des éléments suivants : A : colmatage universel distance minimale; B : colmatage selon déclaration des performances.
A. Colmatage de la réservation du côté des distances minimales par rapport à une paroi/dalle adjacente ou un autre clapet coupe-feu : des panneaux rigides de laine de roche (150 kg/m³) sont appliqués sur une profondeur de min. 400 mm, dont 150 mm sur le côté mécanique de la paroi. Les panneaux de laine de roche doivent au moins affleurer le mur.
La surface de ce colmatage est fixée entre les axes (centres) des clapets.
B. Colmatage du reste de la réservation selon les solutions existantes (déclaration des performances).
Cela est également également applicable pour les clapets circulaires posés à distance minimales l’un de l’autre (entre 30 et 200 mm) mais plus de 75 mm d’une paroi.
Des informations détaillées pour chaque combinaison paroi/colmatage se trouvent sous les méthodes d'installation respectives.
Limitations
Le clapet peut être monté avec l'axe horizontal ou orienté à 45° au maximum.
Au maximum 3 clapets circulaires peuvent être installés à distance minimale l’un de l’autre, tant verticalement que horizontalement (avec un groupe de maximum 4 clapets).
Remarque : pour le colmatage à l’aide de panneaux de laine de roche coupe-feu, le nombre maximal de clapets dépend également de la surface maximale autorisée pour le matériau de colmatage sélectionné. Pour cette information, nous vous référons aux instructions du fabricant.
Le clapet peut être monté avec l'axe horizontal ou orienté à 45° au maximum.
Au maximum 3 clapets circulaires peuvent être installés à distance minimale l’un de l’autre, tant verticalement que horizontalement (avec un groupe de maximum 4 clapets).
Remarque : pour le colmatage à l’aide de panneaux de laine de roche coupe-feu, le nombre maximal de clapets dépend également de la surface maximale autorisée pour le matériau de colmatage sélectionné. Pour cette information, nous vous référons aux instructions du fabricant.
Montage en paroi massive
Le produit a été testé et approuvé en :
- Béton cellulaire / béton (armé) ≥ 100 mm | EI 120 (ve i o) S - (500 Pa) | Mortier / Plâtre | Type de pose : encastré, 0-360°. Distances minimales autorisées avec axe jusqu'à 45°. | Ø 200-630 mm
Installez et fixez les clapets dans la réservation.
Colmatez la réservation du côté des distances minimales à l’aide de panneaux rigides de laine de roche (≥ 150 kg/m³) sur une profondeur de 400 mm (150 mm du côté mécanique de la paroi).
La surface de ce colmatage est fixée entre les axes (centres) des clapets.
Attention : la réservation est colmatée selon le classement existant (voir point suivant) dans le cas où : - 2 clapets coupe-feu sont placés à distance minimale l’un de l’autre mais à distance normale (≥ 75 mm) des parois. - Un seul clapet coupe-feu est placé à distance minimale (≤ 75 mm) d’une paroi ou d’une dalle.
Colmatez la réservation du côté des distances minimales à l’aide de panneaux rigides de laine de roche (≥ 150 kg/m³) sur une profondeur de 400 mm (150 mm du côté mécanique de la paroi).
La surface de ce colmatage est fixée entre les axes (centres) des clapets.
Attention : la réservation est colmatée selon le classement existant (voir point suivant) dans le cas où : - 2 clapets coupe-feu sont placés à distance minimale l’un de l’autre mais à distance normale (≥ 75 mm) des parois. - Un seul clapet coupe-feu est placé à distance minimale (≤ 75 mm) d’une paroi ou d’une dalle.
Montage en dalle massive (150 mm)
Le produit a été testé et approuvé en :
- Béton cellulaire / béton (armé) ≥ 150 mm | EI 120 (ho i o) S - (500 Pa) | Mortier | Type de pose : encastré, 0-360°. Distances minimales autorisées. | Ø 200-630 mm
Installez et fixez les clapets dans la réservation.
Colmatez la réservation du côté des distances minimales à l’aide de panneaux rigides de laine de roche (≥ 150 kg/m³) sur une profondeur de 400 mm (150 mm du côté mécanique de la paroi).
La surface de ce colmatage est fixée entre les axes (centres) des clapets.
Attention : la réservation est colmatée selon le classement existant (voir point suivant) dans le cas où : - 2 clapets coupe-feu sont placés à distance minimale l’un de l’autre mais à distance normale (≥ 75 mm) des parois. - Un seul clapet coupe-feu est placé à distance minimale (≤ 75 mm) d’une paroi ou d’une dalle.
Colmatez la réservation du côté des distances minimales à l’aide de panneaux rigides de laine de roche (≥ 150 kg/m³) sur une profondeur de 400 mm (150 mm du côté mécanique de la paroi).
La surface de ce colmatage est fixée entre les axes (centres) des clapets.
Attention : la réservation est colmatée selon le classement existant (voir point suivant) dans le cas où : - 2 clapets coupe-feu sont placés à distance minimale l’un de l’autre mais à distance normale (≥ 75 mm) des parois. - Un seul clapet coupe-feu est placé à distance minimale (≤ 75 mm) d’une paroi ou d’une dalle.
Montage en paroi flexible (ossature métallique et plaques de plâtre)
Le produit a été testé et approuvé en :
- Ossature métallique et plaques de plâtre Type A (EN 520) ≥ 100 mm | EI 60 (ve i o) S - (500 Pa) | Laine de roche ≥ 40 kg/m³ + talons | Type de pose : encastré, 0-360°. Distances minimales autorisées avec axe jusqu'à 45°. | Ø 200-630 mm
Assemblez la paroi légère en prévoyant un chevêtre autour de la réservation.
Dans la réservation autour des clapets (Dn + 50 mm), le vide entre les plaques de plâtre cartonné est rempli de laine de roche d’une densité minimale de 40 kg/m³.
Dans la réservation autour des clapets (Dn + 50 mm), le vide entre les plaques de plâtre cartonné est rempli de laine de roche d’une densité minimale de 40 kg/m³.
Installez et fixez les clapets dans la réservation.
Colmatez la réservation du côté des distances minimales à l’aide de panneaux rigides de laine de roche (≥ 150 kg/m³) sur une profondeur de 400 mm (150 mm du côté mécanique de la paroi).
Attention : la réservation est colmatée selon le classement existant (voir point suivant) dans le cas où : - 2 clapets coupe-feu sont placés à distance minimale l’un de l’autre mais à distance normale (≥ 75 mm) des parois. - Un seul clapet coupe-feu est placé à distance minimale (≤ 75 mm) d’une paroi ou d’une dalle.
Colmatez la réservation du côté des distances minimales à l’aide de panneaux rigides de laine de roche (≥ 150 kg/m³) sur une profondeur de 400 mm (150 mm du côté mécanique de la paroi).
Attention : la réservation est colmatée selon le classement existant (voir point suivant) dans le cas où : - 2 clapets coupe-feu sont placés à distance minimale l’un de l’autre mais à distance normale (≥ 75 mm) des parois. - Un seul clapet coupe-feu est placé à distance minimale (≤ 75 mm) d’une paroi ou d’une dalle.
Montage en paroi flexible - ossature métallique et plâtre
Le produit a été testé et approuvé en :
- Ossature métallique et plaques de plâtre Type A (EN 520) ≥ 100 mm | EI 60 (ve i o) S - (500 Pa) | Plâtre | Type de pose : encastré, 0-360°. Distances minimales autorisées avec axe jusqu'à 45°. | Ø 200-630 mm
- Ossature métallique et plaques de plâtre Type F (EN 520) ≥ 100 mm | EI 120 (ve i o) S - (500 Pa) | Plâtre | Type de pose : encastré, 0-360°. Distances minimales autorisées avec axe jusqu'à 45°. | Ø 200-630 mm
Assemblez la paroi légère en prévoyant un chevêtre autour de la réservation.
Lors du montage d'un seul clapet coupe-feu à distance minimale du plafond, il n'est pas nécessaire, du point de vue de la protection incendie, de prévoir un chevêtre autour de la réservation.
Dans la réservation autour des clapets, le vide entre les plaques de plâtre est partiellement rempli (jusque Dn + 80 mm) de laine de roche d’une densité minimale de 40 kg/m³.
Lors du montage d'un seul clapet coupe-feu à distance minimale du plafond, il n'est pas nécessaire, du point de vue de la protection incendie, de prévoir un chevêtre autour de la réservation.
Dans la réservation autour des clapets, le vide entre les plaques de plâtre est partiellement rempli (jusque Dn + 80 mm) de laine de roche d’une densité minimale de 40 kg/m³.
Installez et fixez les clapets dans la réservation.
Colmatez la réservation du côté des distances minimales à l’aide de panneaux rigides de laine de roche (≥ 150 kg/m³) sur une profondeur de 400 mm (150 mm du côté mécanique de la paroi).
La surface de ce colmatage est fixée entre les axes (centres) des clapets.
Attention : la réservation est colmatée selon le classement existant (voir point suivant) dans le cas où : - 2 clapets coupe-feu sont placés à distance minimale l’un de l’autre mais à distance normale (≥ 75 mm) des parois. - Un seul clapet coupe-feu est placé à distance minimale (≤ 75 mm) d’une paroi ou d’une dalle.
Colmatez la réservation du côté des distances minimales à l’aide de panneaux rigides de laine de roche (≥ 150 kg/m³) sur une profondeur de 400 mm (150 mm du côté mécanique de la paroi).
La surface de ce colmatage est fixée entre les axes (centres) des clapets.
Attention : la réservation est colmatée selon le classement existant (voir point suivant) dans le cas où : - 2 clapets coupe-feu sont placés à distance minimale l’un de l’autre mais à distance normale (≥ 75 mm) des parois. - Un seul clapet coupe-feu est placé à distance minimale (≤ 75 mm) d’une paroi ou d’une dalle.
Montage en paroi carreaux de plâtre
Le produit a été testé et approuvé en :
- Carreaux de plâtre ≥ 70 mm | EI 120 (ve i o) S - (500 Pa) | Colle carreaux de plâtre | Type de pose : encastré, 0-360°. Distances minimales autorisées avec axe jusqu'à 45°. | Ø 200-630 mm
Installez et fixez les clapets dans la réservation.
Colmatez la réservation du côté des distances minimales à l’aide de panneaux rigides de laine de roche (≥ 150 kg/m³) sur une profondeur de 400 mm (150 mm du côté mécanique de la paroi).
La surface de ce colmatage est fixée entre les axes (centres) des clapets.
Attention : la réservation est colmatée selon le classement existant (voir point suivant) dans le cas où : - 2 clapets coupe-feu sont placés à distance minimale l’un de l’autre mais à distance normale (≥ 75 mm) des parois. - Un seul clapet coupe-feu est placé à distance minimale (≤ 75 mm) d’une paroi ou d’une dalle.
Colmatez la réservation du côté des distances minimales à l’aide de panneaux rigides de laine de roche (≥ 150 kg/m³) sur une profondeur de 400 mm (150 mm du côté mécanique de la paroi).
La surface de ce colmatage est fixée entre les axes (centres) des clapets.
Attention : la réservation est colmatée selon le classement existant (voir point suivant) dans le cas où : - 2 clapets coupe-feu sont placés à distance minimale l’un de l’autre mais à distance normale (≥ 75 mm) des parois. - Un seul clapet coupe-feu est placé à distance minimale (≤ 75 mm) d’une paroi ou d’une dalle.
Inspection du clapet via l'option UL
Une ouverture d'inspection (uniquement disponible en cas de commande de l'option 'UL') permet de déterminer visuellement la position et l'état du clapet à l'aide d'un endoscope.
Retirez le bouchon de fermeture étanche du clapet.
Retirez le bouchon de fermeture étanche du clapet.
Remarques générales
- L'installation doit être conforme au rapport de classement et à la notice technique.
- Orientation de l'axe: voir déclaration des performances.
- Évitez l’obstruction des gaines connectées.
- Installation du produit: toujours avec la lame fermée.
- Vérifiez le libre mouvement de la lame mobile.
- Respectez les distances de sécurité par rapport aux autres éléments constructifs. Le mécanisme de déclenchement doit également rester accessible : prévoyez pour cela un espace libre de 200 mm autour du boîtier.
- La classe d'étanchéité à l'air est maintenue si l'installation du clapet se fait conformément à la notice technique.
- Les clapets coupe-feu Rf-t sont toujours testés dans des châssis de supports standardisés conformément à la EN 1366-2. Les résultats obtenus sont valables pour tous les châssis de supports similaires qui ont une résistance au feu, une épaisseur et une densité similaire ou supérieure à celles du test.
- Si l'épaisseur du mur dépasse l'épaisseur minimale indiquée dans nos instructions d'installation, les conditions suivantes s'appliquent à la profondeur du joint : - Pour les parois flexibles et les parois en système de panneaux sandwich, le joint doit toujours être appliqué sur toute la profondeur de la paroi. - Pour les parois massives, les dalles massives et les parois en blocs de plâtre, la profondeur de calfeutrement minimale indiquée dans nos instructions de pose (souvent égale à l'épaisseur minimale de la paroi) est suffisante. Appliquer le joint à la hauteur du clapet (à partir de l'indication de la limite du mur).
- Lors de l'installation d'un clapet coupe-feu dans une paroi métallique flexible, certaines méthodes d'installation ne nécessitent pas la mise en place de profilés de renforcement autour de la réservation de la paroi du point de vue de la protection contre l'incendie (voir ci-dessous). Il convient de toujours suivre les instructions générales du fabricant de ces systèmes de parois lors de la construction de ce type de paroi.
- Le clapet doit être accessible pour inspection et entretien.
- Prévoyez au moins 2 contrôles visuels chaque année.